
“애견 쿨 패드”
유레카특허법률사무소에서 특허등록 성공했습니다!
배변 패드, 여름 방석, 쿨방석, 냉감 패드, 쿨패드
발명의 목적
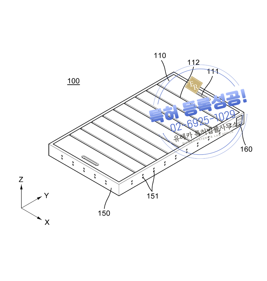
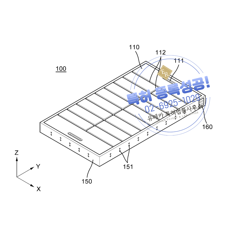
본 발명이 해결하고자 하는 과제는 반려 동물에게 계절에 따라 시원함을 지속적으로 제공할 수 있는 애견 쿨 패드를 제공함에 있다.
또한, 패드의 분해 및 청소가 용이한 애견 쿨 패드를 제공함에 있다.
또한, 열교환소자를 통해 패드의 온도를 일정하게 유지하는 애견 쿨 패드를 제공함에 있다.





해당 발명을 검토한 결과,
반려 동물에게 계절에 따라 시원함을 지속적으로 제공할 수 있고, 패드의 분해 및 청소가 용이하고, 자외선램프를 통해 패드를 살균하여 위생적으로 사용할 수 있으며 열교환소자를 통해 패드의 온도를 일정하게 유지할 수 있으므로 안정감있게 사용할 수 있는 특징이 선행발명과 차별점으로 분석되었고,
이와 같은 차별점을 기반으로 전략적인 특허출원을 진행하여 최종적으로 특허등록에
성공한 케이스입니다!
다양한 분야에서 특허등록을 진행하기 위해
유레카에서 많은 분들이 의뢰를 해주십니다.
좋은 아이디어는 넘치지만
어떻게 특허출원, 등록을 진행하는지 모르거나 고민이 되었던 분들
더이상 고민하지마세요
특허전문 유레카에서 도와드리겠습니다!
어려운점이 있으시면, 고민하지 마시고
유레카 특허법률사무소에서 1:1 무료상담 받으세요!
하단 이미지를 클릭하시면 무료상담 홈페이지로 이동합니다.