
“녹여 응고된 소금을 열매체로 이용한 온열기”
유레카특허법률사무소에서 특허등록 성공했습니다!
발명의 목적
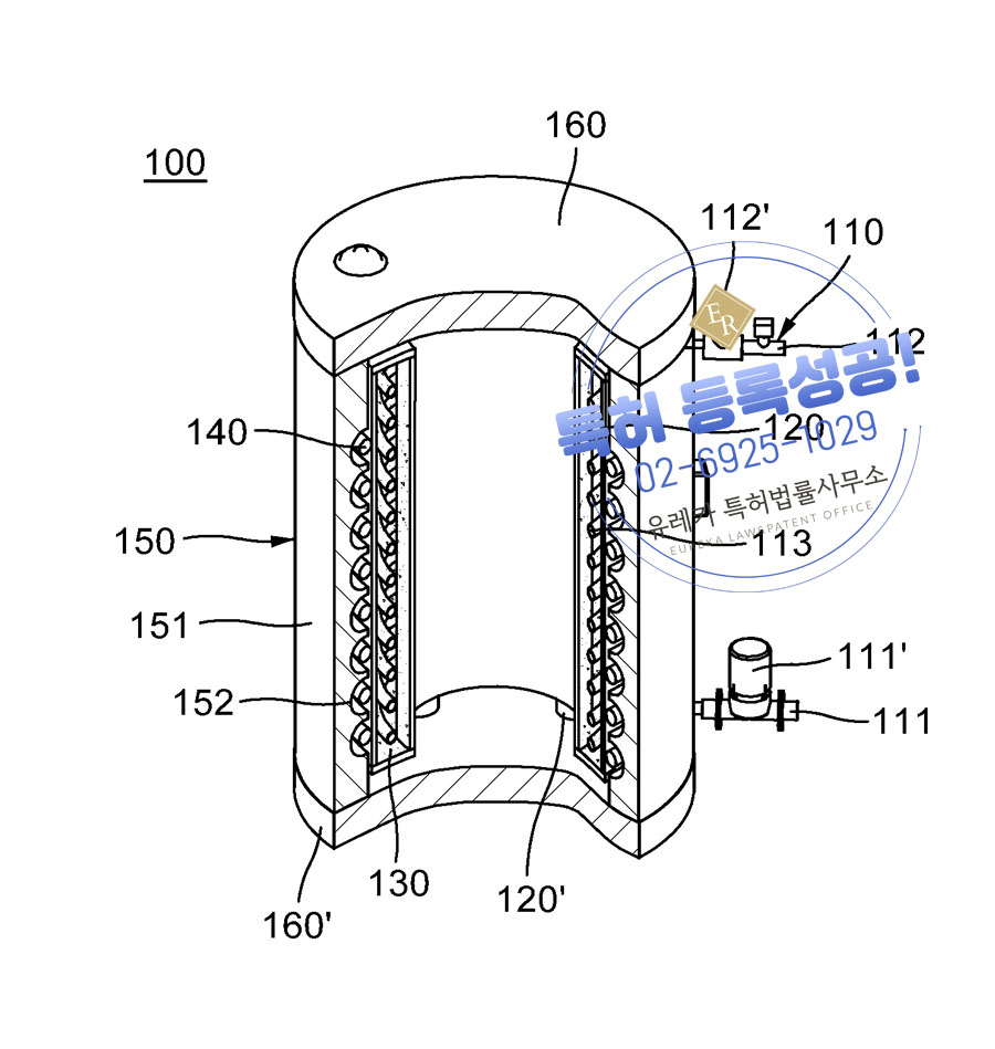
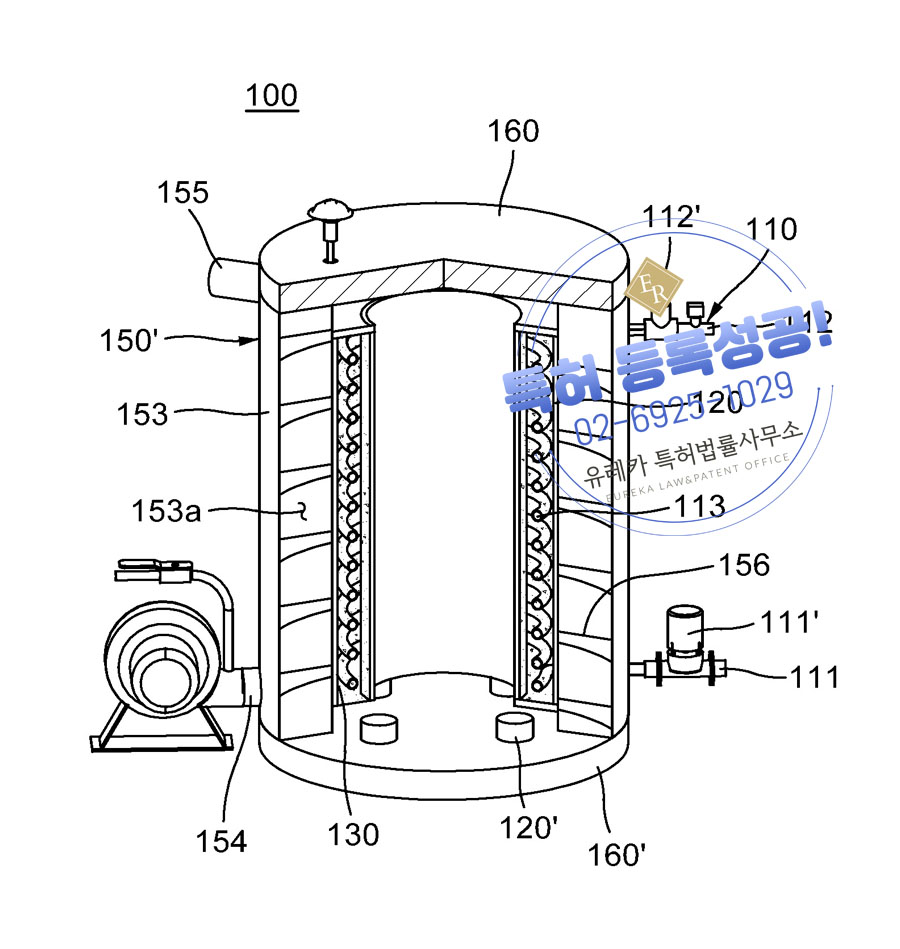
본 발명이 해결하고자 하는 과제는 녹여 응고된 소금을 열매체로 이용함으로써 열원에 의한 신속한 고온 가열과 장시간의 발열효과를 얻을 수 있는 녹여 응고된 소금을 열매체로 이용한 온열기를 제공함에 있다.
또한, 순수한 금속물을 제외한 화합물이 기화되어 부식성이 현저히 낮은 녹여 응고된 소금을 열매체로 이용한 온열기를 제공함에 있다.





해당 발명을 검토한 결과,
녹여 응고된 소금을 열매체로 이용함으로써 열원에 의한 열매체의 신속한 고온 가열을 얻을 수 있고, 열매체의 발열효과를 장시간 얻을 수 있으므로 에너지를 절약하여 경제성을 향상시킬 수 있으며, 순수한 금속물을 제외한 화합물이 기화되어 부식성이 현저히 낮아지고, 이로 인해 제품의 수명을 연장할 수 있는 특징이 선행발명과 차별점으로 분석되었고,
이와 같은 차별점을 기반으로 전략적인 특허출원을 진행하여 최종적으로 특허등록에
성공한 케이스입니다!
다양한 분야에서 특허등록을 진행하기 위해
유레카에 많은 분들이 의뢰를 해주십니다.
좋은 아이디어는 넘치지만
어떻게 특허출원, 등록을 진행하는지 모르셨던 분들 또는 고민이 되었던 분들
고민하지 마세요!
유레카에서 전문변리사와 무료상담을 통해
여러분의 고민을 모두 해결하세요!
특허등록은 유레카에서!
하단 이미지를 클릭하시면 유레카 무료 1:1 상담 게시판으로 이동합니다.