
가스불을 켜놓고 잊어버리면서
냄비를 태우는 상황 생각보다 일상생활에서
자주 발생하게 됩니다.
특히, 나이가 있으신 분들은 이러한 상황이
더 자주 발생하게 되고
자칫 잘못하다 화재로까지 이어질 수 있는데요.
그래서 최근에는 가스차단기를
설치하시는 분들이 많습니다.
온라인상에서 쉽게 구매를 해 셀프로
간단히 설치할 수 있어 실생활에서 유용하게
사용할 수 있는 제품입니다.
물론, 다양하고 회기적인 가스차단기 또한
시중에서 쉽게 찾아볼 수 있고
이와 관련된 특허 사례도 계속해서
나오고 있는 상황입니다.
소개하면서 오늘의 특허 이야기를 시작해 보겠습니다.


출처 : 키프리스
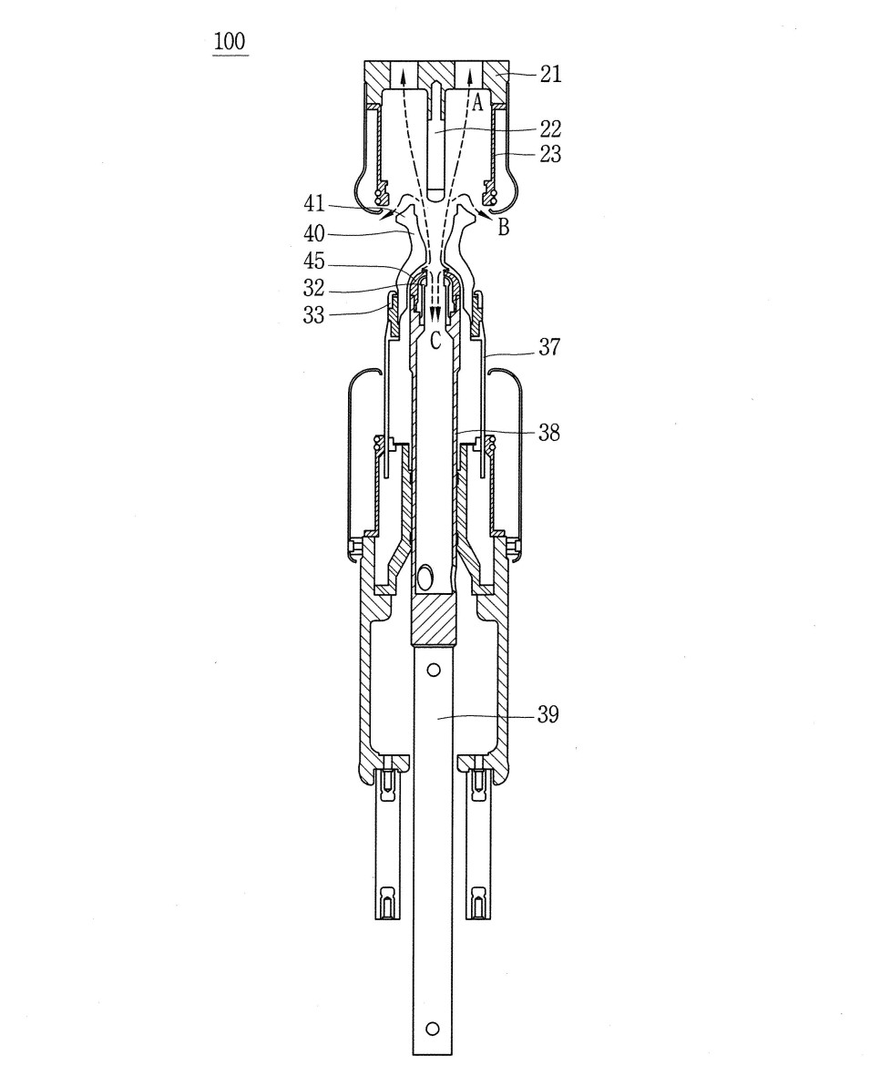
엘에스일렉트릭이 출원한 '퍼퍼형 가스차단기'
발명으로 고정부 주접점과 가동부 주접점 사이로의
열가스 유동을 방지하는 동시에 열가스 유동을
외부방항으로 전환하는 열가스 보호대가
구비된 가스차단기의 노즐구조에 대한 발명입니다.

출처 : 키프리스
본 발명은 주식회사 수산홈텍에서
발명한 '자석식 배터리 케이스의 가스차단기'로
복수의 자석이 매립된 케이스를 이용하여
보다 손쉽게 가스차단기의 케이스를
개폐하는 자석식 배터리 케이스의
가스차단기에 관한 발명입니다.
이렇게 실생활에서 보다 쉽게 사용할 수 있는
가스차단기 특허가 계속해서
출원 및 등록되고 있는 상황입니다.

특허는 우선 가장 먼저
동일 혹은 유사한 기술이 있는지 확인하는
과정을 거치기 때문에 특허자료를 확인하는
사업의 위험성과 기회를 확인할 수 있습니다.
또한 특허 침해로부터 사업을 보호할 수 있고,
특허 공격으로부터 기업이 협상할 수 있으며,
창업자의 특허를 자본금으로 현물 출자할 수 있습니다.
이 밖에도 기업에게 정책 혜택이 가해지며,
경력 부족한 팀원을 연구 인력으로 향상시키거나
안정적인 대외 활동을 진행할 수 있게 됩니다.
이처럼 다양한 혜택이 따라오기 때문에
특허 등록은 필수로 진행하시는 것이 좋겠죠.
[가스차단기 특허출원(click) 대표 변리사에게 1:1 상담요청하기]

우선 특허 출원을 하기에 앞서
앞에서 언급한 '선행기술조사'라는 것을 하게 됩니다.
이 과정에서 기존에 있는 특허와의
동일성이나 유사성을 비교하는 것뿐만 아니라
신규성과 진보성 및 산업상 이용 가능성을 조사하게 되는데,
이 요건 중 하나라도 충족하지 못할 시
특허 거절결정이 날 수 있기 때문에
꼭 필요한 절차라 할 수 있습니다.
다음으로 조사한 요건을 바탕으로
특허청에 출원할 서류를 작성하게 되고
작성한 서류를 위주로 심사에 들어가게 됩니다.
만약, 변리사가 해당 가스차단기 특허의 내용이나
자료를 검토를 하지 않고 무조건 할 수 있다!
라고 말을 한다면?
어떤 기술과 발명을 가지고 있는지 모른채
무조건 등록이 가능하다고 말하는 곳은
절대 피하셔야 함을 말씀드립니다.

이렇게 특허출원 후 특별한 문제가 없다면
일반적으로 18개월 내에 특허등록이 가능하지만,
서류상의 문제로 중간 사건이 발생한다면
이보다 더한 기간이 소요됩니다.
중간 사건은 보정서 혹은 의견서 제출로
극복이 가능하지만
거절 이유에 대한 논리적인 반박이
필요하기 때문에 일반인들이
진행하시기엔 어려운 과정일 수 있습니다.
[가스차단기 특허등록(click) 유레카 특허법률사무소에 무료상담 요청하기]
요즘엔 개인으로 특허 진행을 하시는 분들이 많으시지만
문제 해결을 하지 못하셔서
결국 저희에게 연락 주시는 분들이 많습니다.
전문적인 지식이 필요한 부분이다 보니
특허 관련 지식이 익숙지 않은 분들에게는
쉽지 않은 부분인 것이죠.
특허 진행에 어려움이나 고민이 있으시다면
언제든지 유레카 특허법률사무소로
문의하시기 바랍니다!
▲ 유레카 무료상담 홈페이지 클릭(Click)